Discharge Valves
Quantité : 100000 Prix : 1 000,00 €
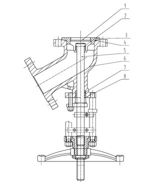
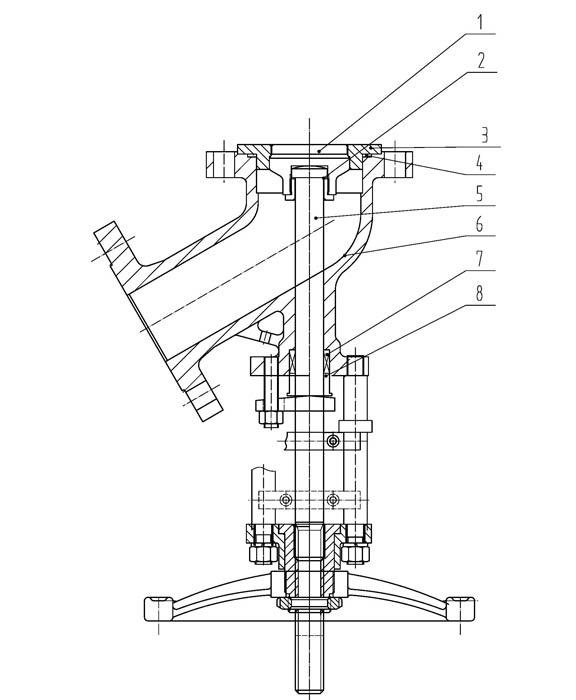
The discharge ball valve is mainly used for discharging materials at the bottom of the storage tank, reaction kettle, and other vessels. The valve is connected with the equipment and located at the bottom by flange or butt welding, so as to eliminate the residual phenomenon of the process medium usually at the outlet of the vessel. According to the needs of the actual situation, it is divided into upward and downward exhibition types. The Upward type is used for discharging the reactor with the agitator discharging valve; the downward type is used for the reaction kettle discharging of the frame-type anchor agitator.
Weidouli Supply Of Two Types Of Discharge Valves
Upward design discharge valves
The upward type discharge valve is the upward movement of the valve disc (plunger). When the valve is opened, the direction of movement is the same as the medium force, so the opening moment is smaller than the closing moment. When the upper spread valve is fully open, the spool is extended to the tank; the upswing moves inside the valve body just like a normal globe valve. The working principle of the up-spread discharge valve is the up-down valve disc, which eliminates the residual phenomenon of the medium at the bottom of the container. It is mainly installed in the reaction pot with slurry type, turbine type, or propulsion type agitator. When the valve is opened, the valve core can not reach into the reaction pot, so that the material can be discharged dynamically. The discharging effect is good and there is no material accumulation at the bottom of the pot.
Downward design discharge valves
The downward type discharge valve is used for the reaction kettle discharge of the frame-type anchor agitator. When it is fully open, the spool is extended to the tank. The lower development type discharge valve for the valve disc (plunger) downward movement valve open, open the direction of movement and the medium force is the same, so the opening moment is smaller than the closing moment.
Design Feature Of Discharge Valve
|
Design |
HG5-89-1 & HG-16-79 |
|
Testing |
API 598 |
|
Face to face dimension |
AS PER MFR |
|
Ends connection |
ASME B16.5 RF |
|
Pressure temperature rating |
ASME B16.34 |
|
Marking |
MSS SP-25 |
|
Non destructive Examination |
VT, PT, RT, UT, MT |
As one of the most professional discharge valve manufacturers, we provide valve for sale, Gate Valves, wsv valves, china industrial valves, etc. Contact us to know valve price or more.
Personne à contacter : Wang Maggie, +13 9 58 97 18 12
Bonne affaire : acheter au vendeur
Nous vous invitons à lire nos conditions générales d'utilisations. Vous pouvez aussi vous rendre sur nos FAQ et consulter notre page d'informations sur les risques liés à la contrefaçon.
|
Cette page concerne les importateurs et exportateurs de Discharge Valves Rechercher dans la catégorie : Biens d'équipement Rechercher dans la catégorie : valves, discharge |
Saturday 16 November 2013
Quantité : 200 - Prix : 14,00 €
Feature: Valentine hand smocked bishop dresses, angel sleeve, buttons at backs for dressing Material : pink argyle Supply type: OEM service Technic: 100% hand smocked Minimum order: 200 pieces ( 50pcs per design per color, 10pcs per size) Size: 3mos-10yrs Babeeni certificate...
Babeeni Ltd.,Co
- 10000 - Ha Noi
- +841682842451
Tuesday 26 May 2026
Quantité : 99 - Prix : 52,80 €
Récepteur s'alimentant en 12V continu ou 24V alternatif. Fonctionne en association avec l'émetteur TX2 sur la fréquence de 315MHz. Programmation du code de sécurité par 8 micro-interrupteurs soit 6561 combinaisons différentes. Sortie sur relais à deux contacts inverseurs (NO/NF)...
Transplanet Satellite
- 31205 - Toulouse Cedex 2
- 05 34 25 67 70
Saturday 16 November 2013
Quantité : 200 - Prix : 14,00 €
Feature: Valentine hand smocked bishop dresses, angel sleeve, buttons at backs for dressing Material : pink stripe seersucker Supply type: OEM service Technic : hand smocked Minimum order: 200 pieces ( 50pcs per design per color, 10pcs per size) Size: 3mos-10yrs Babeeni certificate...
Babeeni Ltd.,Co
- 10000 - Ha Noi
- +841682842451
Paiement sécurisé





